热门问题
订单
财务
库存
计件
办公
采购
资料
设置
客户
其他
打印机和扫码枪
生产流转
版本更新
小技巧
首页
鞋业ERP
资料
删除已经生成库存码,计件码等码的生产计划单
删除已经生成库存码,计件码等码的生产计划单
0 阅读
更新时间 2026-04-16 15:09
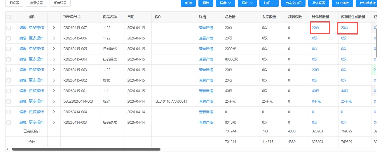
首先找到需要删除的生产计划单
找到已经生成的码并且点击
进入到生产计划单对应的二维码位置并进行报废
将所有已经生成的二维码报废后就可以对生产计划单进行删除操作
1 / 1
×
❮
❯
Mr. Sun
孙经理
孙经理
马经理
x
您的咨询详情必须在20-2000个字符之间!
请检查您的邮箱!
请检查您的电话!
提交
提交成功!
x
我们会尽快给您回电!
OK