慈溪市顺通网络技术有限公司

首页 外贸云建站 版本更新 2025-11-6 更新了表单类型的外链

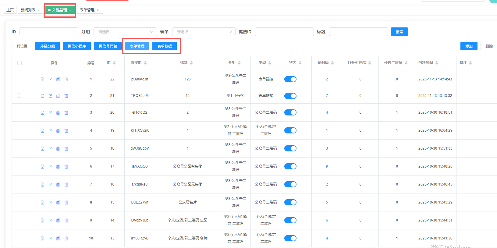
2025-11-6 更新了表单类型的外链

更新了外链表单的创建和访问,以及数据收集

外链管理页面有俩个快捷入口

表单管理页面

表单数据页面

100 阅读 更新时间 2025-11-17 11:52
咨询的产品
提交
提交成功! x

我们会尽快给您回电!

OK